米兰网web版
Jiangsu Shengli Centrifuge Manufacturing Co., Ltd.
认真做事,诚信做人
全自动卸料离心机/米兰网web版
产品中心
PRODUCTS
产品中心
Shengli Centrifuge Manufacturing
LGZ系列平板式刮刀下部卸料全自动离心机

主要特点
◆采用PLC控制,程序设定,无人看护的自动化操作,加料、初过滤、洗涤、精过滤、卸料全过程监护。
◆变频调速,启动平稳,分离因数可调。
◆能耗制动,非接触式制动方式,无磨擦粉尘污染。
◆全密闭结构,密封件采用硅橡胶或氟橡胶,离心机内腔氮气保护,可实现密闭防爆要求。
◆结构设计合理,在线清洗系统(喷淋系统),保证了洁净度要求,符合GMP规范。
◆自动动作元件采用气动系统,清洁卫生。
◆料层控制器。
◆选装气体辅助刮刀,卸料后转鼓中无残余滤饼。
◆无基础安装,结构简洁,外形美观,清洗方便。
◆减振和隔振系统设计科学合理,采用平衡块和进口高精度液态阻尼剂式隔振器,设备振动全部被隔振系统吸收、对基础地面和周边环境无振动干扰。
◆设备基础平衡板又可作为操作平台,操作维护更方便。
◆安全保护:转速检测,过振动保护,开盖保护,电机过载过热保护,刮刀旋转,升降机械电气双重控制,刮刀与转鼓的联动锁定。
选配装置
◆清洗喷淋系统;氮气保护系统;料层控制器;
◆PLC程序控制;液压动作系统;气体辅助刮刀;
◆按用户所分离物料的防腐要求选用相应的材料(SUS304、316、316L、321、钛材、哈氏合金、衬塑、衬胶、喷涂halar等)。
主要参数
| 项目 | 型号 | ||||||
| LGZ800 | LGZ1000 | LGZ1250 | LGZ1360 | LGZ1500 | LGZ1600 | ||
| 转鼓直径(mm) | 800 | 1000 | 1250 | 1360 | 1500 | 1600 | |
| 转鼓有效高度(mm) | 400 | 450 | 630 | 800 | 800 | 750 | 800/1000 |
| 转鼓有效容积(L) | 100 | 160 | 354 | 450 | 530 | 612 | 775/970 |
| 最大装料限量(kg) | 140 | 215 | 480 | 580 | 680 | 825 | 1150/1300 |
| 转鼓转速(r/min) | 1200/1500 | 1000/1200 | 1000/1200 | 1000 | 970 | 850 | 800 |
| 过滤面积(m2) | 1.0 | 1.41 | 2.47 | 3.14 | 3.41 | 3.53 | 4.01/5.02 |
| 分离因素(ω2r/ ɡ) | 645/1006 | 560/804 | 700/1006 | 700 | 715 | 606 | 573 |
| 电机功率(kw) | 7.5/11 | 11/15 | 22/30 | 30 | 30 | 37 | 37/45 |
| 整机重量(kg) | 2000 | 2600 | 4200 | 4500 | 4700 | 8000 | 9500/10000 |
| 外形尺寸(mm) | 1800×1300×2000 | 1950×1600×2100 | 2300×1800×2400/2700 | 2350×1900×2700 | 2800×2100×2700 | 2980×2250×3000/3200 | |
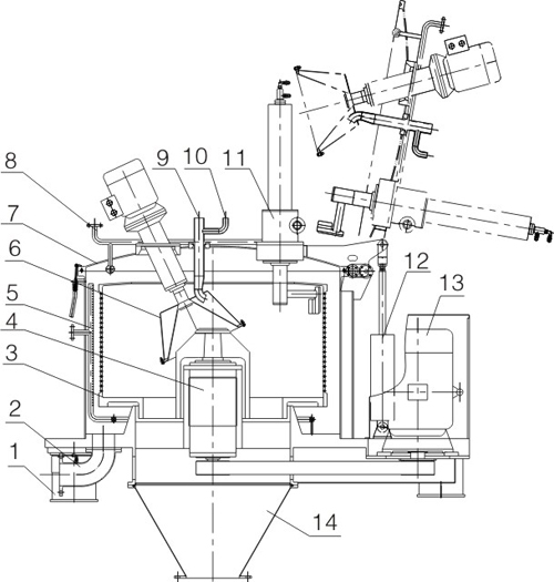
结构示意图

| 1.阻尼减振器 | 2.出液管 |
| 3.转鼓 | 4.传动总成 |
| 5.下在线清洗 | 6.斜盘布料器 |
| 7.翻盖 | 8.上在线清洗 |
| 9.进料管 | 10.洗涤管 |
| 11.刮刀总成 | 12.翻盖油缸 |
| 13.主电机 | 14.出料斗 |